歡迎光臨山東新澤儀器有限公司官方網站 CEMS在線監測 氣體分析儀 過程氣分析系統 進口分析儀表 聯系我們
紅外線分析儀
紅外線一氧化碳CO氣體分析儀

紅外線一氧化碳CO氣體分析儀

  • 品牌:SINZEN(新澤儀器)
  • 型號:S2000型
  • 廠家:山東新澤儀器有限公司
產品說明

一、S2000型一氧化碳分析儀產品簡介

 

    S2000型CO分析儀,該儀器屬于不分光式紅外線氣體分析器,其工作原理是基于某些氣體對紅外線的選擇性吸收。儀器采用單光源、單管隔半氣室及先進的檢測器,工藝精湛、分析精度高、穩定性好。采用先進的數字處理技術,全新的液晶顯示畫面。

 

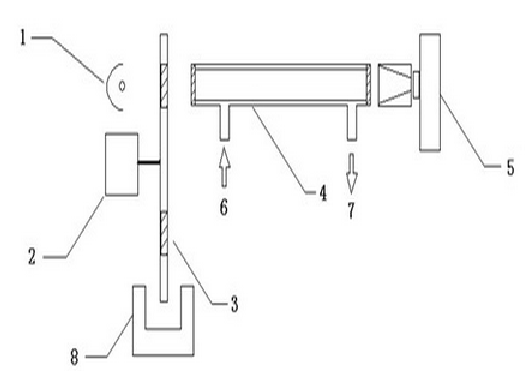
CO紅外線氣體分析儀原理圖-山東新澤儀器有限公司

CO紅外線氣體分析儀原理圖

1.紅外光源   2.調制馬達   3.濾光片    4.分析氣室    5.紅外探測器    6.進氣口    7.出氣口    8.相位檢測器

 

二、S2000一氧化碳分析儀用途及應用范圍

 

   S2000紅外線氣體分析器用于連續分析CO、一種氣體在多種氣體混合物中的含量。

  產品應用領域廣泛:

1.用于大氣及污染源排放等環保監測

2.用于石油、化工、電站等工業過程控制

3.用于農業、醫療衛生和科研等領域

4.實驗室各種燃燒試驗的氣體含量測定

5.用于公共場所的空氣監測

 

三、S2000一氧化碳分析儀特點

 

1.標準19機箱,能安裝在成套設備中

2.大屏幕LCD顯示,全中文菜單操作,且有操作提示功能,操作簡單、高效

3.手動/自動零/終點校準、

4.全數字化處理,更加準確穩定可靠

5.標準RS232數字通訊功能,可直接與電腦或DCS連接

6.輸出為同步、隔離的(0/2/4-20)mA及(0/0.5/1-5)V信號可選,默認為(4-20)mA和(1-5)V,電流輸出負載400兆歐;,電壓輸出負載250兆歐;

7.具有完全隔離的校準、故障、報警、的輸出信號

 

四、S2000一氧化碳分析儀主要技術數據

 

1.測量范圍:CO:最小量程:0~2000(ppm);最大量程0~100%;

2.精    度:≤2%F.S.;

3.穩 定 性:零點漂移:≤1%F.S./7d;

4.量程漂移:≤1%F.S./7d;

5.樣氣壓力:0.1Mpa,入口壓力0.25Mpa;

6.輸出信號:4-20mA或0-10mA DC可選;

7.觸點容量:120VAC,1A   24VDC,1A;

8.工作電源:220V±10%,50Hz±5%;

9.工作環境:溫度:-5℃~+45℃;

10.濕    度:≤90%RH;

11.重    量:約6.5kg。



優質的服務流程

· quality of service processes ·

掃一掃,微信關注掃一掃,微信關注

Copyright ? 2015-2023 山東新澤儀器有限公司 版權所有
全國熱線:400-050-3910
E-mail:xinzeyiqi@163.com
地址:濟南市槐蔭區太平河南路1567號均和云谷匯智港6號樓
魯ICP備16002986號-5? XML地圖



受信任網站


逛了這么久,何不咨詢分析儀工程師?1分鐘留下信息我們將給您出具解決方案!

在線咨詢

Online Consulting

在線客服 在線咨詢1 在線咨詢2 在線咨詢3
掃一掃,微信關注

咨詢熱線

400-050-3910